深度剖析恒源PF反擊式破碎機工作原理及結構特征
反擊式破碎機工作原理:
反擊式破碎機是一種利用沖擊能來破碎的破碎機械。當物料進入板錘作用區時,受到板錘的高速沖擊而破碎,并被拋向安裝在轉子上方的反擊裝置上再次破碎,然后又從反擊襯板上彈回到板錘作用區重新破碎。此過程重復進行,直到物料被破碎至所需粒度,由機器下部排出為止。調整反擊架與板錘之間的間隙可達到改變物料出料粒度和物料形狀的目的。
反擊式破碎機是一種利用沖擊能來破碎的破碎機械。當物料進入板錘作用區時,受到板錘的高速沖擊而破碎,并被拋向安裝在轉子上方的反擊裝置上再次破碎,然后又從反擊襯板上彈回到板錘作用區重新破碎。此過程重復進行,直到物料被破碎至所需粒度,由機器下部排出為止。調整反擊架與板錘之間的間隙可達到改變物料出料粒度和物料形狀的目的。

本機在后架上采用自重式保險裝置,當非破碎物料進入破碎腔后,前后反擊架后退,非破碎物料從機內排出。
反擊破結構和特征:
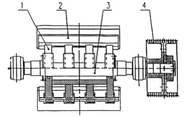
如下圖1所示,反擊式破碎機主要由轉子、反擊架、機架、棘輪翻蓋(液壓翻蓋)和傳動部分等零部件組成。

1、轉子 2、反擊架 3、機架
圖1 反擊破碎機結構圖
轉子部分
轉子體是本機心臟部分(見下圖2)。轉子架采用鋼板焊接而成,板錘被固定在正確的位置,軸向限位裝置能有效的防止板錘竄動。
板錘采用高耐磨材料制成。整個轉子具有良好的動靜平衡和耐沖擊性。
機架
機架是由三部分堅固、抗扭的箱形焊接結構組成,彼此用高強度螺栓連接。為保證安全可靠地更換易損件,鉸接式機架蓋可用機械裝置或液壓裝置打開。建議用戶在機架上方設置起吊裝置,這將幫助你更為快捷地打開上機架以更換易損件或檢測設備。機架兩側均設有檢測門。
反擊架
本機裝有前、后二個反擊架,均采用自重式懸掛結構。每一反擊架被單獨地支承在破碎機機架上。破碎機工作時,反擊架由自重保持其正常工作位置;過鐵時,反擊架迅速抬起,異物排除后,又重新返回原處。反擊架與轉子之間的間隙可通過懸掛螺栓進行調整。反擊襯板用高強度螺栓固定在反擊架上。反擊襯板可以從磨損較大的地方更換到磨損較小的地方。

1、轉子架 2、板錘 3、軸 4、槽輪
圖2 轉子部件圖
傳動部分
傳動采用三角皮帶傳動。與主軸配合的槽輪采用脹套聯接,便于裝拆。轉子的速度可通過更換電機槽輪來調整。

反擊式破碎機出廠圖

反擊破工程現場案例圖
反擊式破碎機生產線視頻:
點擊觀看 【顎破+反擊破】生產線視頻
反擊破廠家簡介:
上海恒源冶金設備有限公司自成立以來,一直專注于砂石生產線設備的研發、生產與銷售,公司主營產品主要有破碎、制砂、磨粉、輸送篩分設備及配套備件等。位于江蘇啟東濱海工業園區的六萬平米大型礦機生產基地,具備先進的數控加工設備和產品質檢檢測儀器,設備精度高、速度快,具有很強的生產能力,歡迎廣大客戶前來實地工廠考察和咨詢,期待與您攜手共贏!
采購聯絡方式:
恒源主站:www.zkfg.net.cn
國內銷售:021-58973788
國際銷售:021-33781259
全國服務熱線:400-820-2021
歡迎新老客戶致電,預約參觀,我們將為您提供完善的碎石、制砂生產線成套設備解決方案,讓專業的人做專業的事,讓您我一起攜手,共贏未來!
往期恒源微信公眾號內容鏈接回顧:
產品系列
Phoenix【砂石生產線設備】產品大全,收藏備用!
生產線案例
發貨系列
10-07 福建砂石生產線發貨回顧
09-28 湖南砂石生產線發貨回顧
09-28 吉林砂石生產線發貨回顧
09-23 廣西砂石生產線發貨回顧
09-18 湖南砂石生產線發貨回顧
本公司一直堅信好的資源和信息需要分享,本文暨上海恒源冶金設備有限公司官方網站的原創發布,轉載請注明出處!
技術文章
返回首頁
破碎機械中處理鵝卵石的設備有哪些?
2019-05-10
【破碎機設備】破碎機不僅僅只有一種破碎機,不同行業有不同的破碎機,下面我簡單說一下
2019-08-08
如何延長顎式破碎機顎板的使用壽命
2023-04-12
破碎機的發展歷程
2019-07-11
全國41個港口鐵礦石庫存總量創年內新高
2019-05-12
【破碎機故障】以下是破碎機常見故障的排除方法,各位礦山老板們積極掌握住.
2019-08-08
礦山修復要產業化了!從這三方面打造礦山修復核心競爭力
2019-09-11
中國大型粉碎機廠家的代表-上海恒源給客戶的建
2019-05-12
復合圓錐破碎機原理視頻
2020-04-07
干混砂漿質量控制與常見問題分析
2019-09-06
固廢處理技術與現狀
2019-08-28
玄武巖破碎機篩分設備成套設備工藝設計
2019-06-28
中國城鎮化拉動破碎機行業一舉提高競爭,縮短
2019-05-12
制砂機廠家成本包括人工成本,運輸成本,材料成本等
2020-06-24
顎式破碎機生產時粉塵大的原因及解決方法
2023-05-07
鄂式破碎機為什么機架會開裂?
2020-08-31
顎破更換顎板的步驟和注意事項
2020-05-15
【行業資訊】自然資源部:廢棄礦山生態修復中,石料處置需要辦理采礦證嗎?
2019-09-20
要搞清楚哪幾點?破碎機設備該如何選擇呢?
2019-10-15
如何提高顎式破碎機鄂板的壽命
2019-05-10